GM Service Manual Online
For 1990-2009 cars only
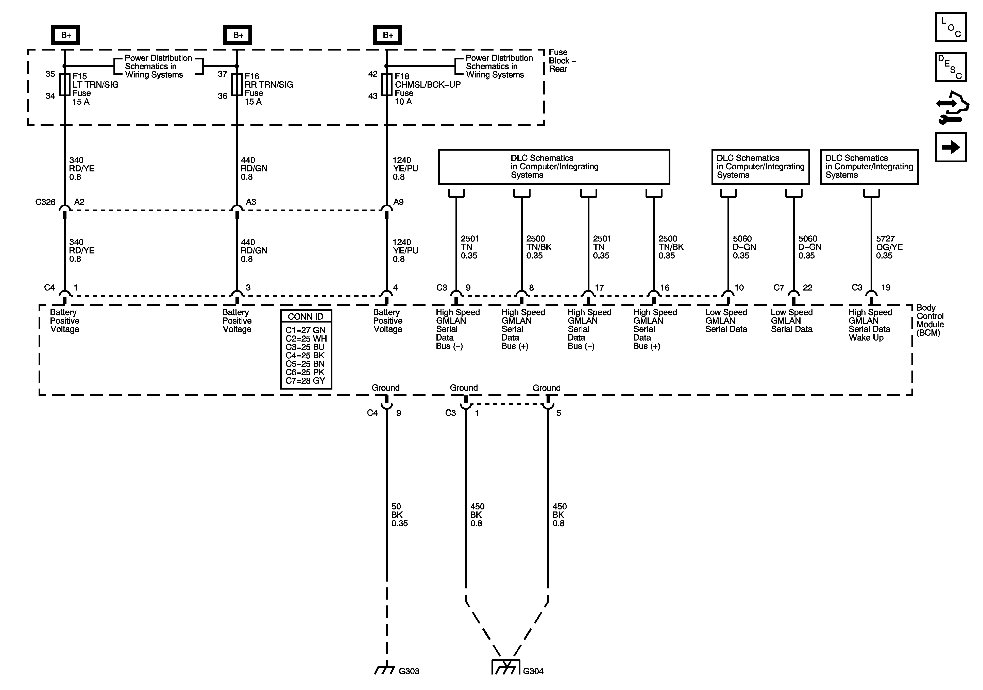
Figure 1:

BCM Power, Ground and DLC


Object Number: 1647065  Size: FS
Master Electrical Component List
Body Control System Description and Operation
Control Module References
BCM Inputs and Outputs 1 of 4
Rear Fuse Block B+ Bus
Rear Fuse Block B+ Bus
DLC High Speed Serial Data
DLC Power, Ground, and Low Speed GMLAN
DLC High Speed Serial Data Wake Up
G101, G110, G111, G114, G115, G302, G303, G306, G307
G304
Figure 2:

BCM Inputs and Outputs 1 of 4


Object Number: 1647066  Size: FS
Master Electrical Component List
Body Control System Description and Operation
Control Module References
BCM Inputs and Outputs 2 of 4
BCM Power, Ground, and DLC
A/T Shift Lock Control Schematic
Hazard, Headlamp, Driver Information Display Switches, Ashtray, HVAC Control Module, Radio, Clock
Brake Pedal Position, Traction Control Switch, Data Link Communications
Rear Fuse Block - LT TRN/SIG, RR TRN/SIG, CHMSL/BCK-UP, INT LAMPS, SWTCH DM Fuses, DR MDL/PWR WNDW Circuit Breaker
Rear Fuse Block - TRUNK RELSE Relay, AUX PWR, LTR/CNSL, CNSTR VENT, RVC SENSE, ELC MDL, MRTD MDL, TRUNK RELSE Fuses
Rear Fuse Block - RAP Relay, CTSY/RF TRN, S/ROOF, SHFTR SOL, RAP, REAR SEAT LUM Fuses
Rear Fuse Block IGN SWTCH, STR/WHL ILLUM Fuses
Cruise Control ON/OFF Switch
Charging Schematic
Figure 3:

BCM Inputs and Outputs 2 of 4


Object Number: 1647067  Size: FS
Master Electrical Component List
Body Control System Description and Operation
Control Module References
BCM Inputs and Outputs 3 of 4
BCM Inputs and Outputs 1 of 4
Cornering Lamps
Fog Lamps
Stop/Rear Turn Signal Lamps
Front Park, Marker, Position Lamps
Front Turn Signal/Hazard Lamps
Stop/Rear Turn Signal Lamps
Window, Traction Control, Sun Shade, Sunroof Switches, Reverse Lockout Solenoid, Garage Door Opener, Rear Compartment Courtesy Lamp
Trunk Release, Valet Switch, and Rear Compartment Lid Latch
Center High Mounted Stop Lamp
Fog Lamps
Figure 4:

BCM Inputs and Outputs 3 of 4


Object Number: 1647068  Size: FS
Master Electrical Component List
Body Control System Description and Operation
Control Module References
BCM Inputs and Outputs 4 of 4
BCM Inputs and Outputs 2 of 4
Door Lock, Unlock Relays
Door Release Switches - V4U
Outside Moisture Sensor and Windshield Washer Solvent Heater
Door Latch Assemblies and Hood Ajar Switch
Wiper System Power and Ground
Horns Schematics
Figure 5:

BCM Inputs and Outputs 4 of 4


Object Number: 1647069  Size: FS
Master Electrical Component List
Body Control System Description and Operation
Control Module References
BCM Inputs and Outputs 3 of 4
Headlamp Switch
Rear Fuse Block - RUN Relay, REAR HVAC, HTD STR, HTD/COOL/IGN3, BCM LOGIC Fuses
Vanity Mirror, Rear Compartment Courtesy, I/P Compartment, Overhead Console
Rear Door Latch Assembly - B9Q
Brake Warning
Center High Mounted Stop Lamp
Front Turn Signal/Hazard Lamps
Headlamp Switch