GM Service Manual Online
For 1990-2009 cars only
Figure 1:

Front Blower Motor


Object Number: 797491  Size: FS
Master Electrical Component List
Air Temperature Description and Operation
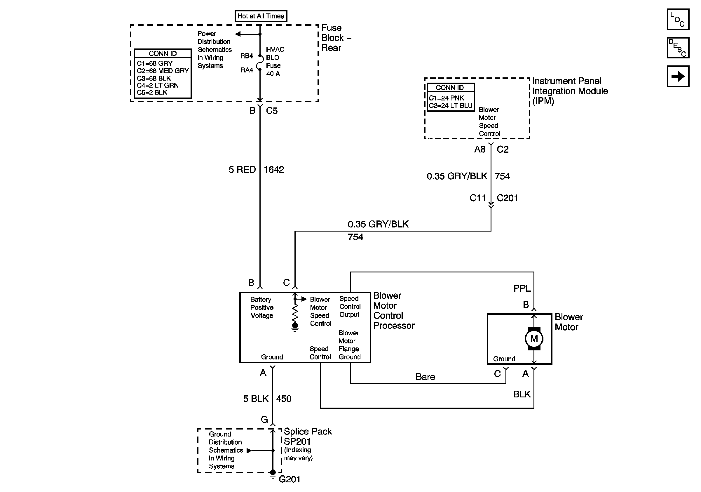
Rear Blower Motor-Deville/DHS
G201 1 of 3
HVAC BLO, DRV MDL, PASS MDL, PWR TT, HTDST LR, HTDST RR, HTDST RF, and DIM Fuses
Figure 2:

Rear Blower Motor-Deville/DHS


Object Number: 797494  Size: FS
Figure 3:

Rear Blower Motor-DTS


Object Number: 797496  Size: FS
Master Electrical Component List
Air Temperature Description and Operation
HVAC Compressor Control
Rear Blower Motor-Deville/DHS
G200
G201 2 of 3
RR BLO, RR DR MDL, HVAC, Stop LP, IGN SW, and TSIG/HAZ Fuses
Class 2 Serial Data (1 of 3)
Steering Wheel Controls
Figure 4:

HVAC Compressor Control


Object Number: 797502  Size: FS
Master Electrical Component List
Air Temperature Description and Operation
Steering Wheel Controls
Rear Blower Motor-DTS
Underhood Fuse Block Battery Voltage
Class 2 Serial Data (1 of 3)
Figure 5:

Actuators and Air Temperature Control


Object Number: 797499  Size: FS
Master Electrical Component List
Air Temperature Description and Operation
HVAC Air Delivery/Temperature Control Sensors
Steering Wheel Controls
HVAC Air Delivery/Temperature Control Sensors
ELC, Night Vision, HVAC, ABS Fuses
Figure 6:

Temperature Sensors


Object Number: 797500  Size: FS
Master Electrical Component List
Air Temperature Description and Operation
Rear Actuator-DeVille/DHS
Actuators and Inside Air Temperature Control
Headlamp Switch (Export)
Headlamp Switch (Export)
Actuators and Inside Air Temperature Control
Figure 7:

Rear Actuator-DeVille/DHS


Object Number: 797504  Size: FS
Master Electrical Component List
Air Temperature Description and Operation
Rear Actuator-DTS
HVAC Air Delivery/Temperature Control Sensors
G200
Console Dimming
Class 2 Serial Data (1 of 3)
MEM TT, RRLUM/ANT, and HTDST LF Fuses
IGN 3 Fuses
Figure 8:

Rear Actuator-DTS


Object Number: 797505  Size: FS
Master Electrical Component List
Air Temperature Description and Operation
Rear Actuator-DeVille/DHS
IGN 3 Fuses
G201 2 of 3
G201 2 of 3
Console Dimming
G201 2 of 3
MEM TT, RRLUM/ANT, and HTDST LF Fuses
IGN 3 Fuses
Figure 9:

Steering Wheel Controls


Object Number: 797497  Size: FS
Master Electrical Component List
Steering Wheel and Column Description and Operation
Actuators and Inside Air Temperature Control
HVAC Compressor Control
HVAC Schematic Icons
Cruise Control Switches and Module Power and Ground