GM Service Manual Online
For 1990-2009 cars only
Figure 1:

DIM Power and Ground


Object Number: 879894  Size: FS
Master Electrical Component List
Body Control System Description and Operation
Body Control Module Schematics-DIM Ignition Inputs
Power Distribution Schematics-Ignition Switch and Heated Seat Fuses
Power Distribution Schematics-Ignition Switch and Heated Seat Fuses
Ground Distribution Schematics-G201 (1 of 5)
Data Link Connector (DLC) Schematics-Serial Data Line (LH Drive) (1 of 2)
Starting and Charging Schematics-Generator Controls
Figure 2:

DIM Ignition Inputs


Object Number: 794858  Size: FS
Master Electrical Component List
Body Control System Description and Operation
Body Control Module Schematics-DIM Inputs/Outputs (1 of 2)
Body Control Module Schematics-DIM Power and Ground
Power Distribution Schematics-Ignition Switch Supply
Power Distribution Schematics-Ignition Switch Supply
Power Distribution Schematics-Ignition Switch Supply, HVAC and ABS Fuses
Power Distribution Schematics-Ignition Switch Supply
Power Distribution Schematics-Ignition Switch Supply
Ground Distribution Schematics-G301
Figure 3:

DIM Inputs/Outputs (1 of 2)


Object Number: 642119  Size: FS
Master Electrical Component List
Body Control System Description and Operation
Body Control Module Schematics-DIM Inputs/Outputs (2 of 2)
Body Control Module Schematics-DIM Ignition Inputs
Headlights/Daytime Running Lights (DRL) Schematics-HDLP Switch Power,Ground
Headlights/Daytime Running Lights (DRL) Schematics-High Beam Headlamps
Headlights/Daytime Running Lights (DRL) Schematics-Low Beam Headlamps
Headlights/Daytime Running Lights (DRL) Schematics-High Beam Headlamps
Headlights/Daytime Running Lights (DRL) Schematics-HDLP Switch Power,Ground
Headlights/Daytime Running Lights (DRL) Schematics-High Beam Headlamps
Headlights/Daytime Running Lights (DRL) Schematics-High Beam Headlamps
Headlights/Daytime Running Lights (DRL) Schematics-Low Beam Headlamps
Headlights/Daytime Running Lights (DRL) schematics-HDLP Switch Power,Ground
Headlights/Daytime Running Lights (DRL) Schematics-Low Beam Headlamps
Headlights/Daytime Running Lights (DRL) Schematics-High Beam headlamps
Headlights/Daytime Running Lights (DRL) Schematics-High Beam headlamps
Headlights/Daytime Running Lights (DRL) Schematics-Low Beam Headlamps
Theft Deterrent System Schematics-Class 2 and Tamper Switches
Exterior Lights Schematics-Park Lamp Relay and Class 2
Exterior Lights Schematics-Park Lamp Relay and Class 2
Exterior Lights Schematics-Position Lamps
Fog Lights Schematics-Front Fog Lamps
Figure 4:

DIM Inputs/Outputs (2 of 2)


Object Number: 815022  Size: FS
Master Electrical Component List
Body Control System Description and Operation
Body Control Module Schematics-IPM Power and Ground
Body Control Module Schematics-DIM Inputs/Outputs (1 of 2)
HVAC Schematics-A/C Compressor Clutch
Horns Schematics
Theft Deterrent System Schematics-Class 2 and Tamper Switches
Steering Wheel Controls Schematics-Steering Wheel Controls
Wiper/Washer System Schematics-Power, Ground, and Components
Wiper/Washer System Schematics-HeadLamp Washer (Export)
Shift Lock Controls Schematics-Reverse Lockout and Shift Lock Solenoid
Interior Lights Dimming-Dimming Control
Exterior Lights Schematics-Hazard Switch
Exterior Lights Schematics-Hazard Switch
Theft Deterrent System Schematics-Class 2 and Tamper Switches
Figure 5:

IPM Power and Ground


Object Number: 879895  Size: FS
Master Electrical Component List
Body Control System Description and Operation
Body Control Module Schematics-IPM Inputs/Outputs (1 of 2)
Body Control Module Schematics-DIM Inputs/Outputs (2 of 2)
Power Distribution Schematics-ALDL, PCM Battery, I/P, ABS Fuses
Power Distribution Schematics-ALDL, PCM Battery, I/P, ABS Fuses
Power Distribution Schematics-Ignition 3 RR Fuse
Ground Distribution Schematics-G201 (1 of 5)
Ground Distribution Schematics-G201 (1 of 5)
Data Link Connector (DLC) Schematics-Serial Data Line (LH Drive) (1 of 2)
Figure 6:

IPM Inputs/Outputs (1 of 2)


Object Number: 815024  Size: FS
Master Electrical Component List
Body Control System Description and Operation
Body Control Module Schematics-IPM Inputs/Outputs (2 of 2)
Body Control Module Schematics-IPM Power and Ground
HVAC Schematics-Electric Actuators
HVAC Schematics-Temperature Sensor (LH Drive)
HVAC Schematics-Blower Motor (Front)
Figure 7:

IPM Inputs/Outputs (2 of 2)


Object Number: 794860  Size: FS
Master Electrical Component List
Body Control System Description and Operation
Body Control Module Schematics-RIM Power and Ground
Body Control Module Schematics-IPM Inputs/Outputs (1 of 2)
Fog Lights Schematics-Front Fog Lamps
Fog Lights Schematics-Rear Fog Lamps
Interior Lights Schematics-Rt. Courtesy Compartment, IGN Key Cylinder lamps
Interior Lights Schematics-Vanity and Reading Lamps,Interior Lamp Switch
Audible Warnings Schematics
Body Rear End Schematics
Interior Lights Dimming Schematics-Class 2 Signals
Interior Lights Dimming-Dimming Control
Interior Lights Dimming Schematics-DIC and Headlamp Switch
ABS Schematics-Traction Control Switch and ABS Indicators
Interior Lights Dimming-Dimming Control
Headlights/Daytime Running Lights (DRL) Schematics-HDLP Switch Power,Ground
Headlights/Daytime Running Lights (DRL) Schematics-HDLP Switch Power,Ground
Headlights/Daytime Running Lights (DRL) schematics-HDLP Switch Power,Ground
Figure 8:

RIM Power and Ground


Object Number: 879898  Size: FS
Master Electrical Component List
Body Control System Description and Operation
Body Control Module Schematics-RIM Inputs/Outputs (1 of 2)
Body Control Module Schematics-IPM Inputs/Outputs (2 of 2)
Power Distribution Schematics-Ignition Switch and Heated Seat Fuses
Power Distribution Schematics-Ignition Switch and Heated Seat Fuses
Power Distribution Schematics-IGN 1 Relay,SIR,Vent Sol and Ignition 1 Fuses
Power Distribution Schematics-IGN 1 Relay,SIR,Vent Sol and Ignition 1 Fuses
Data Link Connector (DLC) Schematics-Serial Data Line (LH Drive) (2 of 2)
Ground Distribution Schematics-G401 (1 of 3)
Figure 9:

RIM Inputs/Outputs (1 of 2)


Object Number: 794861  Size: FS
Master Electrical Component List
Body Control System Description and Operation
Body Control Module Schematics- RIM Inputs/Outputs (2 of 2)
Body Control Module Schematics-RIM Power and Ground
Interior Lights Schematics-Rt. Courtesy Compartment, IGN Key Cylinder lamps
Cigar Lighter/Auxiliary Outlets Schematics
Interior Lights Schematics-Interior Lamp Relays
Exterior Lights Schematics-Backup Lights
Exterior Lights Schematics-Backup Lights
Fog Lights Schematics-Rear Fog Lamps
Body Rear End Schematics
Body Rear End Schematics
Theft Deterrent System Schematics-Class 2 and Tamper Switches
Cruise Control Schematics-Retained Accessory Power (RAP)
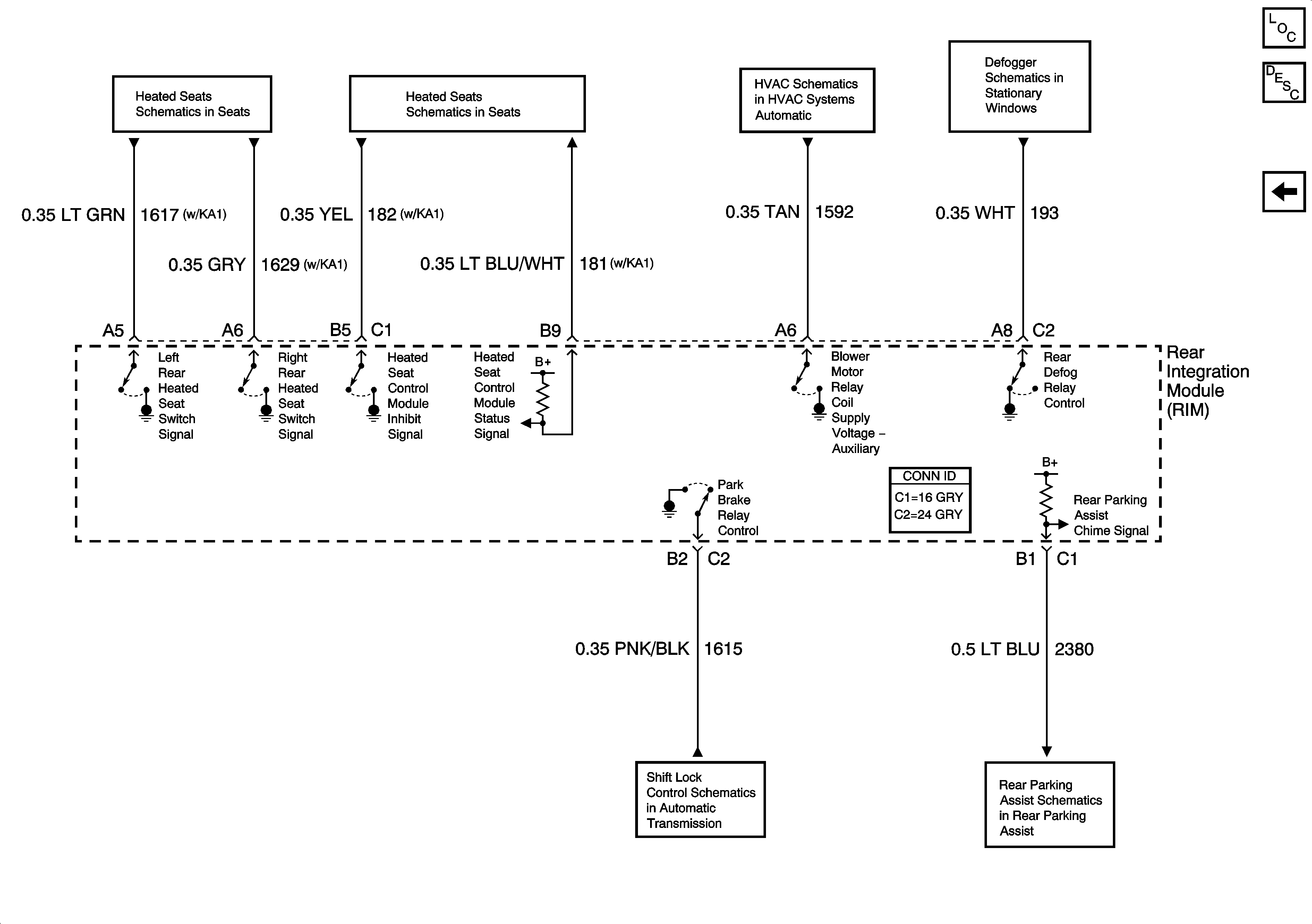
Figure 10:

RIM Inputs/Outputs (2 of 2)


Object Number: 1282171  Size: FS
Master Electrical Component List
Body Control System Description and Operation
Body Control Module Schematics-RIM Inputs/Outputs (1 of 2)
Heated Seats Schematics-Heated Seat Module, Driver
Heated Seats Schematics-Heated Seat Modules, Left Rear and Right Rear
HVAC Schematics Blower Motor-Auxiliary
Defogger Schematics
Shift Lock Controls Schematics-Reverse Lockout and Shift Lock Solenoid
Audible Warnings Schematics-Power and Ground