GM Service Manual Online
For 1990-2009 cars only
Makes
🢒
Oldsmobile
🢒
2002
🢒
Intrigue
🢒
Body and Accessories
🢒
Body Control System
🢒 Body Control System Schematics
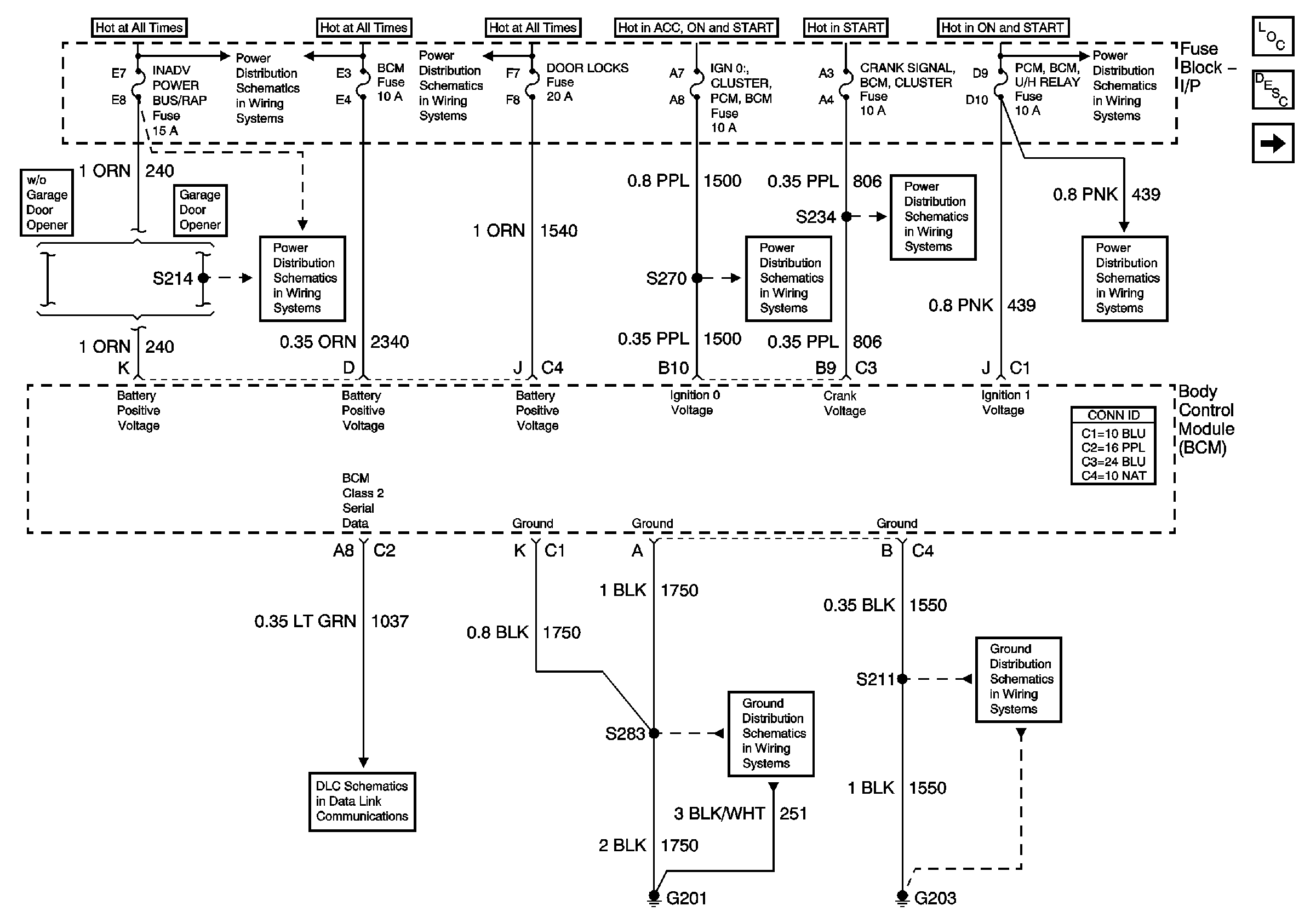
Figure
1:
Power, Ground, DLC
Master Electrical Component List
Body Control System Description and Operation
RAP, Seat Belts, Horns, Lights, Serial Data, Security
BTSI, TURN SIGNALS/CORN LPS, AIR BAG, CLUSTER, and PCM/BCM/U H RELAY Fuses
HIGH BLOWER, HAZARD, STOP LAMPS, DOOR LOCKS, and POWER MIRRORS Fuses
INADV POWER BUS/RAP, BCM, RADIO/HVAC/RFA CLUSTER/DATA LINK, RADIO AMP, and CIGAR LTR/AUX POWER/POWER DROP Fuses
INADV POWER BUS/RAP, BCM, RADIO/HVAC/RFA CLUSTER/DATA LINK, RADIO AMP, and CIGAR LTR/AUX POWER/POWER DROP Fuses
IGN 0 CLUSTER/PCM/BCM, and CRANK SIGNAL/BCM/CLUSTER Fuses
IGN 0 CLUSTER/PCM/BCM, and CRANK SIGNAL/BCM/CLUSTER Fuses
BTSI, TURN SIGNALS/CORN LPS, AIR BAG, CLUSTER, and PCM/BCM/U H RELAY Fuses
DLC, and Splice Pack
G201
G203
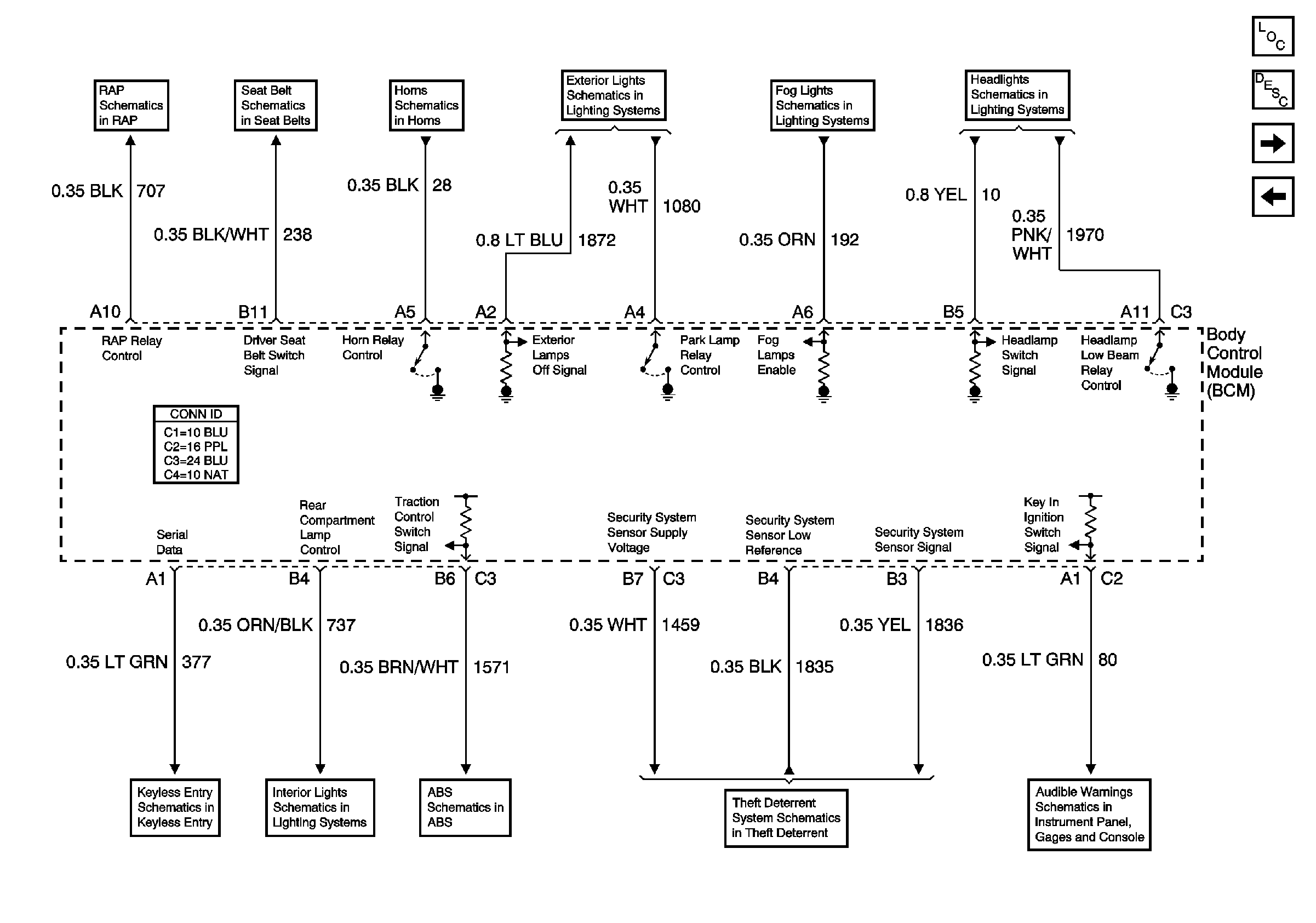
Figure
2:
RAP, Seat Belts, Horns, Exterior Lights, Fog Lights, Headlights, Keyless Entry, Interior Lights, ABS, Theft Deterrent, and Audible Warnings
Master Electrical Component List
Body Control System Description and Operation
Lights, Brake Warning, Doors, Turn Signals
Power, Ground, and DLC
Power, Ground, and RAP Relay
Power, Ground, and Seat Belt Switch
Power, Ground, Horn Assembly, and Switch
Park Lamps-Front
Fog LP-LF, Fog LP-RF, Fog LP Relay, Fog Lamp Switch
Headlamp Relay, and Ambient Light Sensor
Power, Ground, and Serial Data, and Antenna Signal
I/P, Rear Compartment and Courtesy Lamp Control
ABS Indicator, Torque Signals, and Traction Control Switch
Voltage, Low Reference, and Serial Data
Ignition Switch Signal, and Serial Data
Figure
3:
Headlights, Brake Warning, Door Locks, Interior Lights, Turn Signals
Master Electrical Component List
Body Control System Description and Operation
RAP, Seat Belts, Horns, Lights, Serial Data, Security
Headlamp Relay, and Ambient Light Sensor
Park Brake On, and Brake Fulid Level Signals
Door Lock Switches
Door Open Switches
Dimming Control, IPC, HVAC, and Radio
Door Lock Actuators
I/P, Rear Compartment and Courtesy Lamp Control
Turn Signal Lamps-Front