GM Service Manual Online
For 1990-2009 cars only
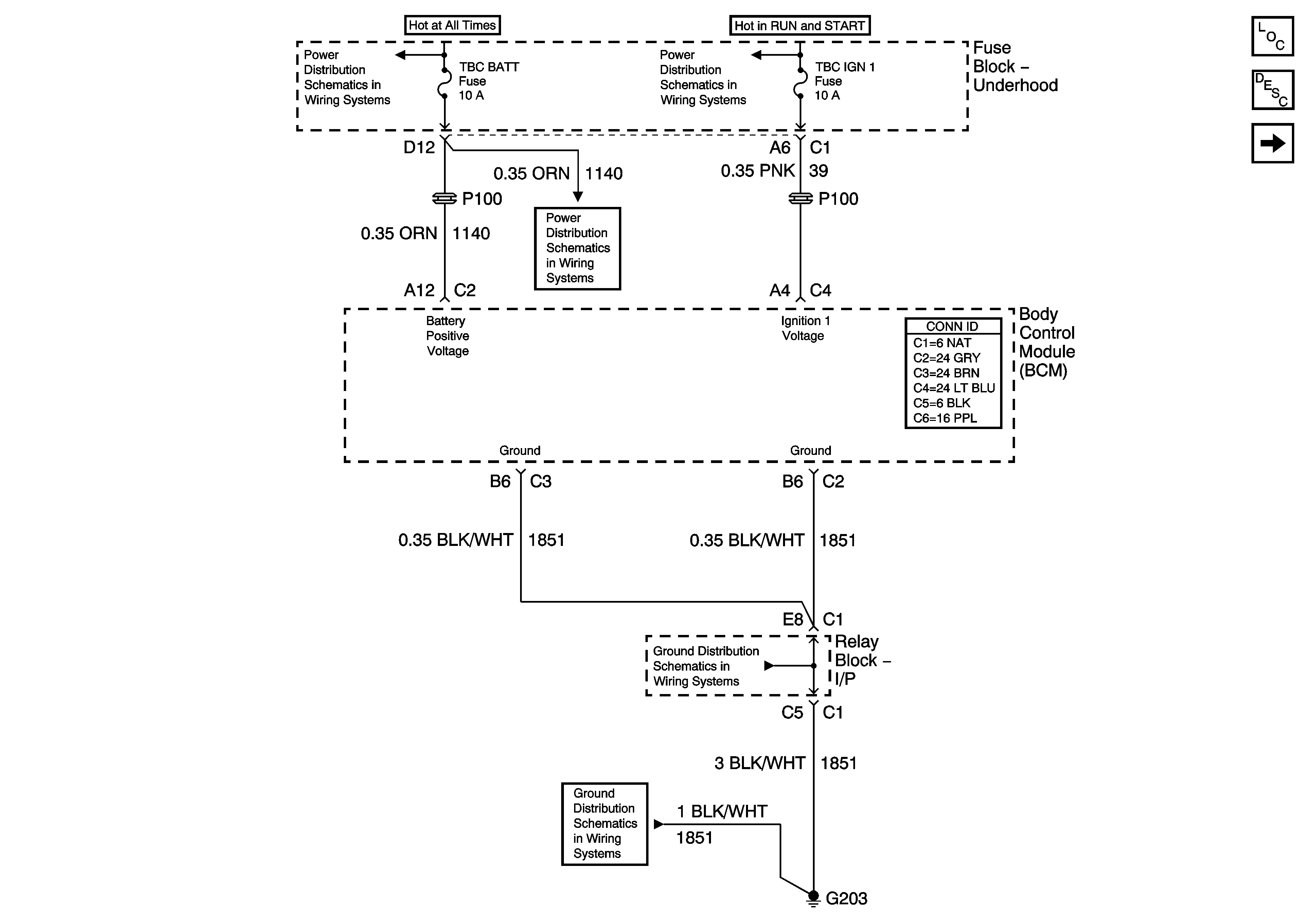
Figure 1:

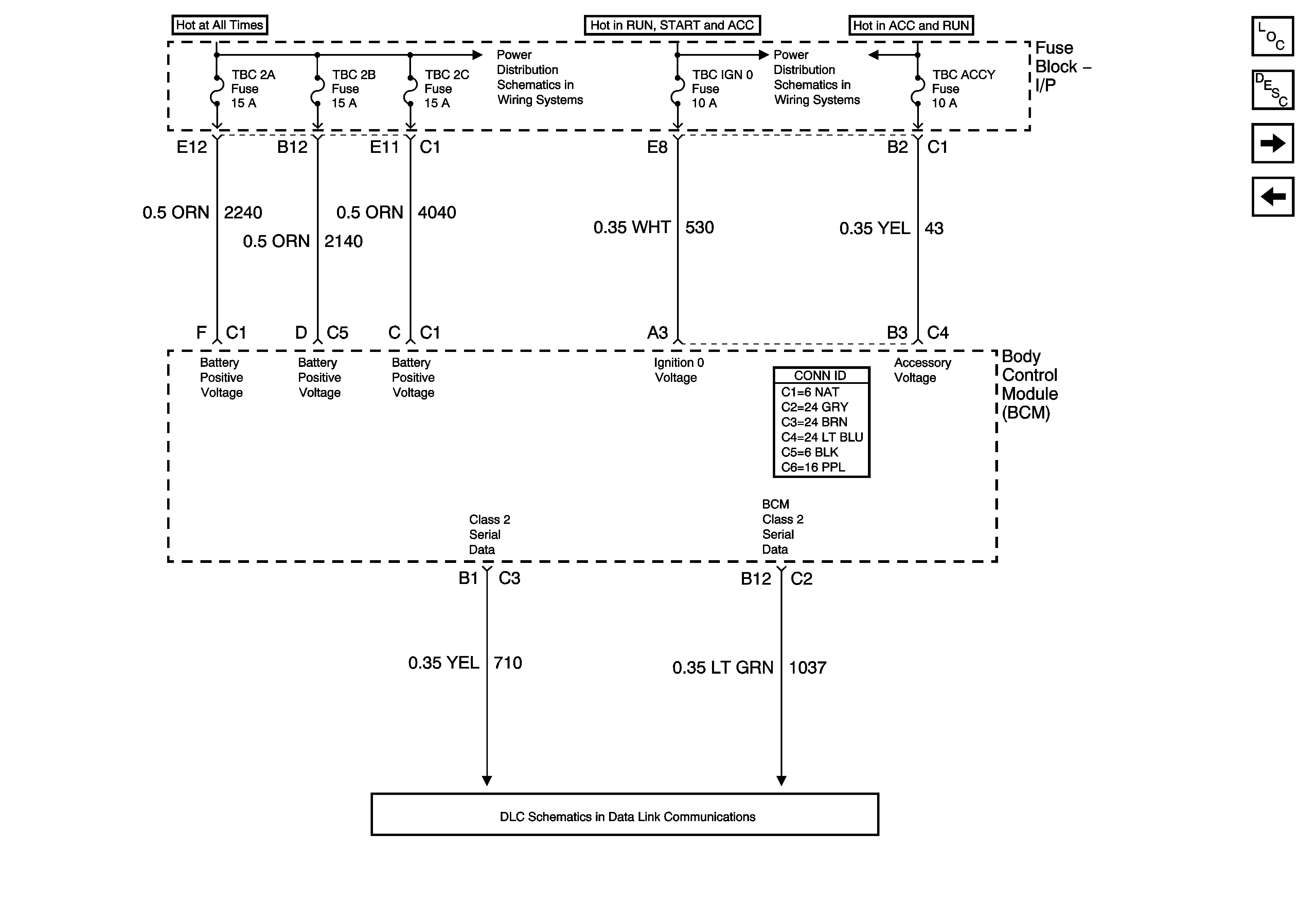
Power, Ground, and Serial Data - 1 of 2


Object Number: 1250790  Size: FS
Master Electrical Component List
Body Control System Description and Operation
Power, Ground, and Serial Data - 2 of 2
ABS, VSES/ECAS, STUD #1, STUD #2, and TBC BATT Fuses
O2A, O2B, TBC IGN 1, and SEO IGN Fuses
ABS, VSES/ECAS, STUD #1, STUD #2, and TBC BATT Fuses
G203 - 1 of 3
G203 - 1 of 3
Figure 2:

Power, Ground, and Serial Data - 2 of 2


Object Number: 1250791  Size: FS
Master Electrical Component List
Body Control System Description and Operation
Interior Lighting Systems References - 1 of 2
Power, Ground, and Serial Data - 1 of 2
TBC 2A, TBC 2B, TBC 2C Fuses and LT DOORS, RT DOOR, SEAT Circuit Breakers
IGN 0, TBC IGN 0,TBC ACCY, SEO ACCY, RR WPR, and WS WPR Fuses
SP205 - 2 of 2
Figure 3:

Interior Lighitng Systems References - 1 of 2


Object Number: 1250792  Size: FS
Master Electrical Component List
Body Control System Description and Operation
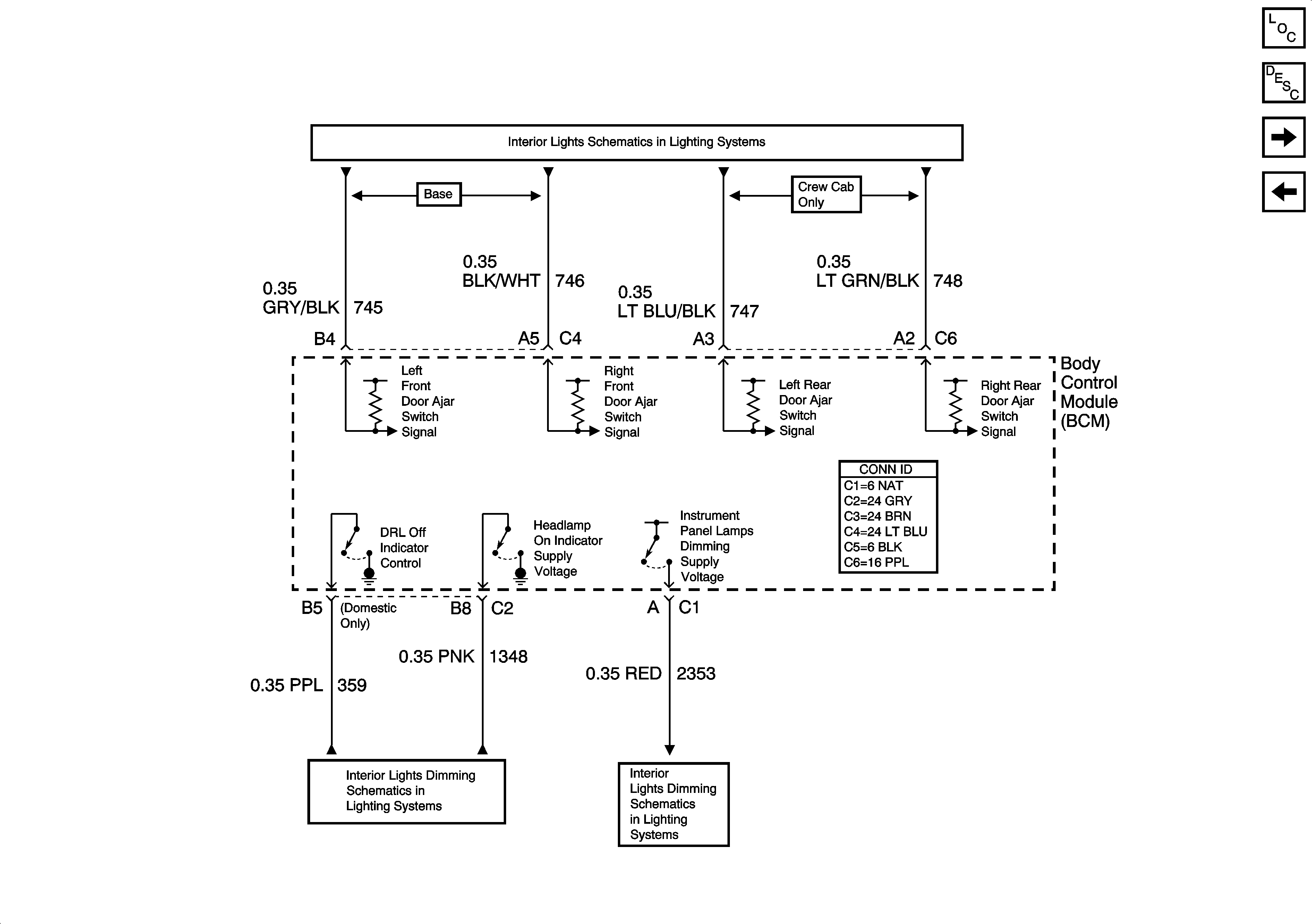
Interior Lighting Systems References - 2 of 2
Power, Ground, and Serial Data - 2 of 2
Interior Lights and LED Dimming Control
Inadvertent Power Supply Voltage - 1 of 3 and Courtesy Lamp Supply Voltage - 1 of 3
Inadvertent Power Supply Voltage - 3 of 3
Figure 4:

Interior Lighitng Systems References - 2 of 2


Object Number: 1250793  Size: FS
Master Electrical Component List
Body Control System Description and Operation
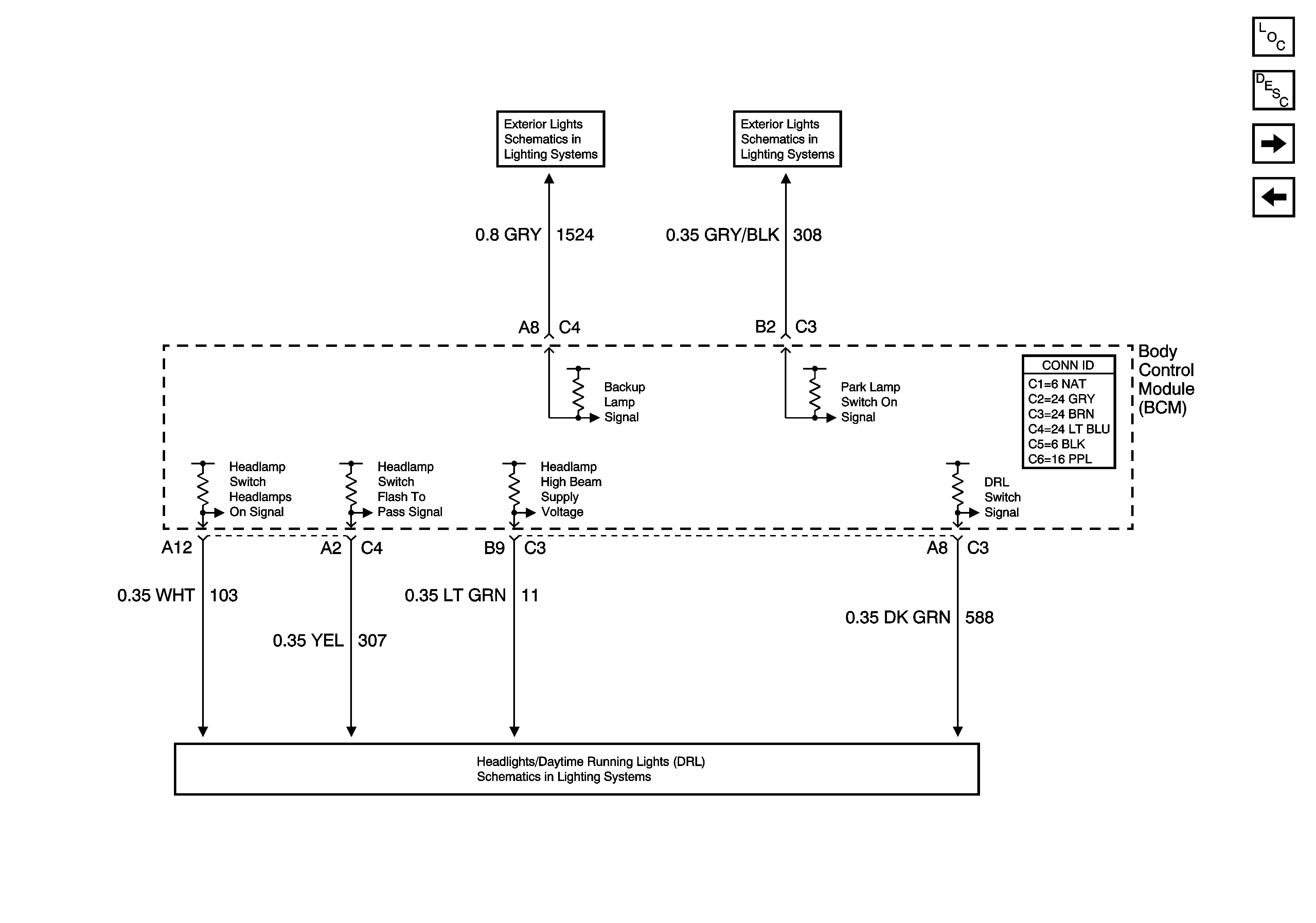
Exterior Lighting Systems References - 1 of 2
Interior Lighting Systems References - 1 of 2
Door Jamb Switches - w/YE9 or Y91
Interior Lights and LED Dimming Control
LED Dimming Supply Voltage - 3 of 3
Figure 5:

Exterior Lighitng Systems References - 1 of 2


Object Number: 1250794  Size: FS
Master Electrical Component List
Body Control System Description and Operation
Exterior Lighting Systems References - 2 of 2
Interior Lighting Systems References - 2 of 2
Headlights
Park Lamp Relay - Domestic
Daytime Running Lamps (DRL) - Domestic
Headlights/DRL Control
Backup Lamps - GMC
Front
Figure 6:

Exterior Lighitng Systems References - 2 of 2


Object Number: 1250795  Size: FS
Master Electrical Component List
Body Control System Description and Operation
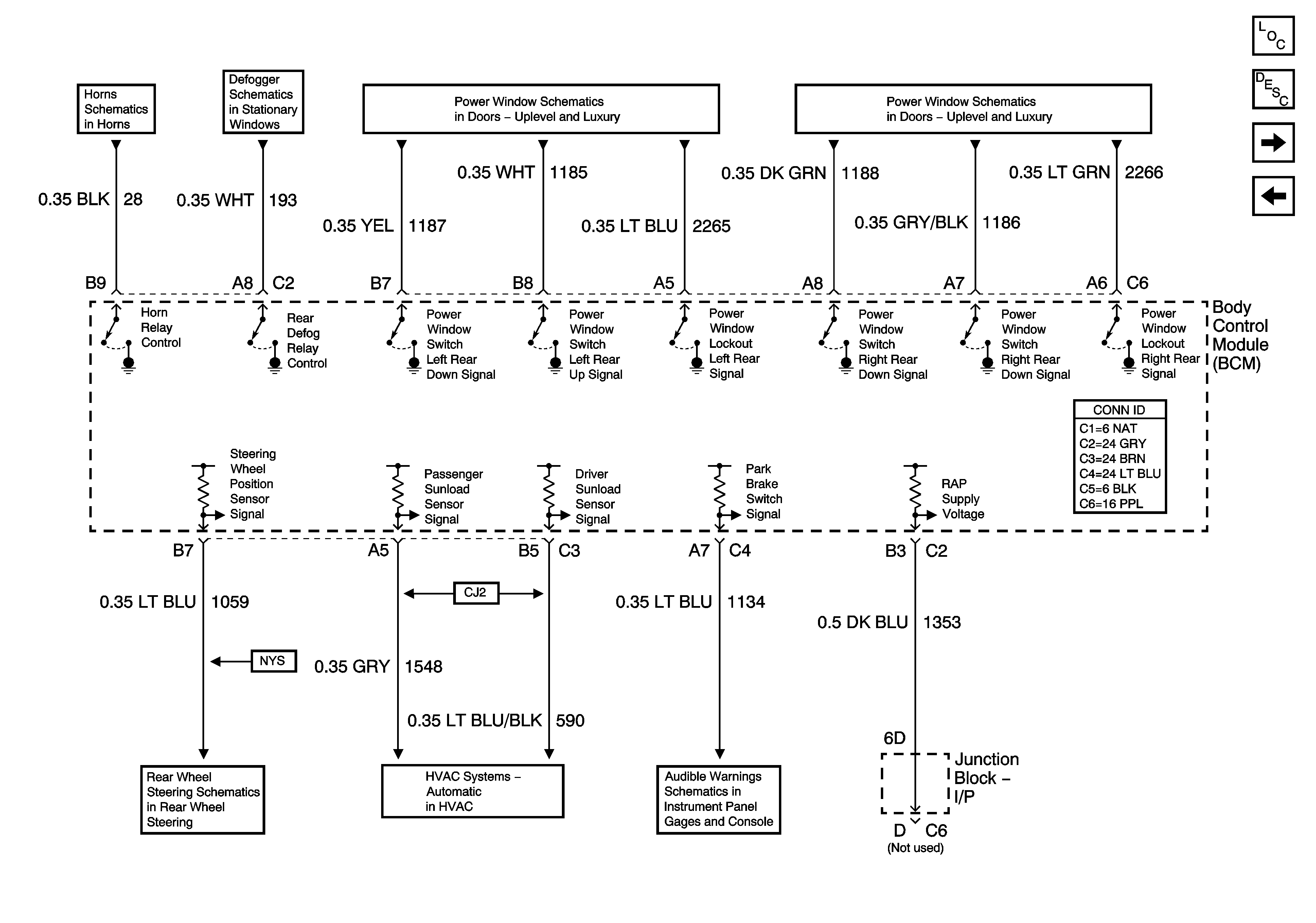
Controlled/Monitored Subsystem References - 1 of 2
Exterior Lighting Systems References - 1 of 2
Backup Lamps - Chevrolet
Park Lamp Relay - Domestic
Headlights/DRL Control
Figure 7:

Controlled/Monitored Subsystem References - 1 of 2


Object Number: 1250797  Size: FS
Master Electrical Component List
Body Control System Description and Operation
Controlled/Monitored Subsystem References - 2 of 2
Exterior Lighting Systems References - 2 of 2
Horns Schematics
Defogger Schematics
Left Door
Right Doors
Steering Wheel Speed/Position
Steering Wheel Speed/Position
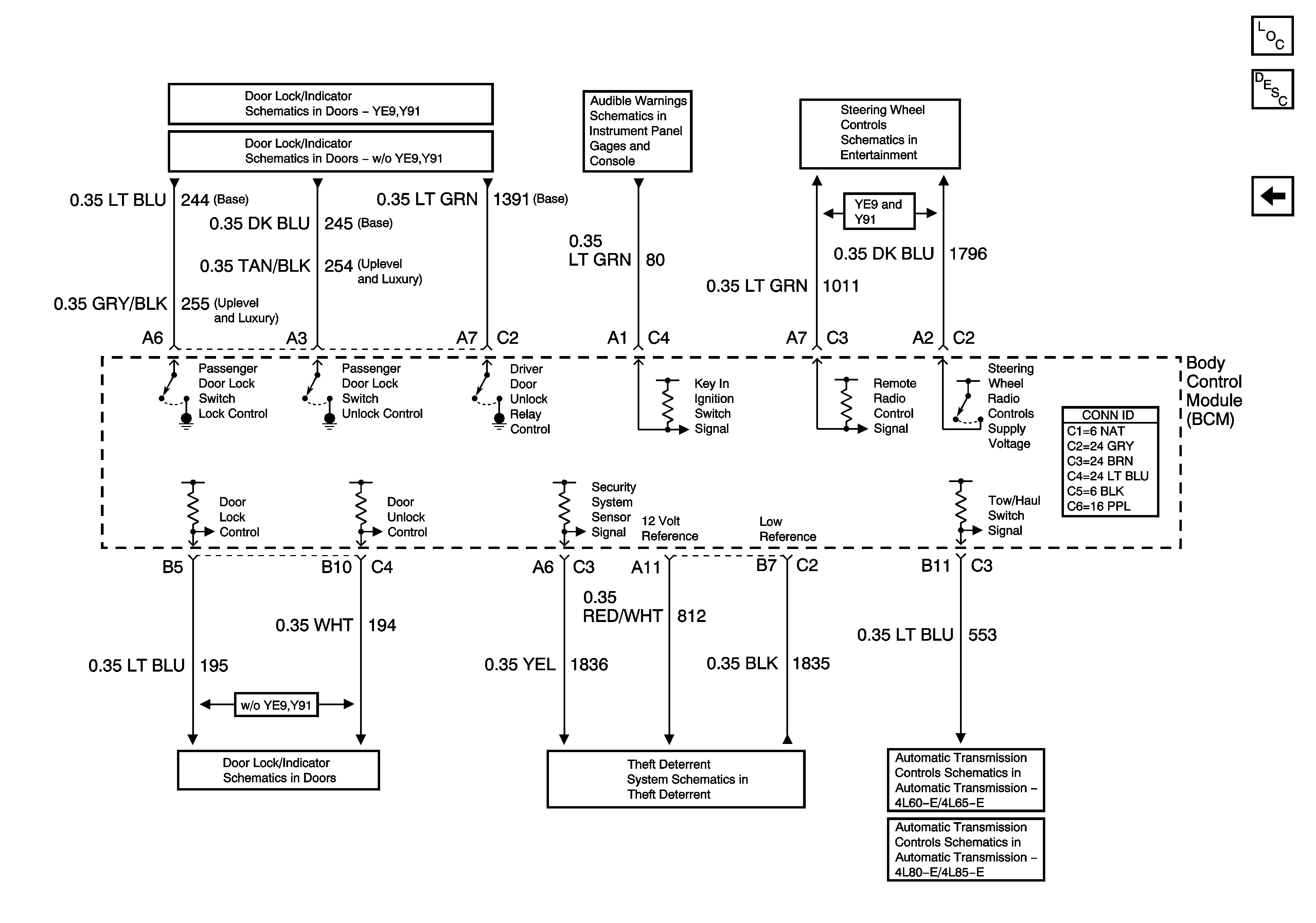
Power, Ground, Serial Data and Indicator Control
Sunload Sensor Inputs
Figure 8:

Controlled/Monitored Subsystem References - 2 of 2


Object Number: 1250798  Size: FS
Master Electrical Component List
Body Control System Description and Operation
Controlled/Monitored Subsystem References - 1 of 2
Relays - Crew Cab w/YE9
Relays - Except YE9
Audible Warnings
Steering Wheel Controls
Switches - Except YE9
Vehicle Theft Deterrent
Tow/Haul and PNP Switches
Tow/Haul and PNP Switch Inputs