GM Service Manual Online
For 1990-2009 cars only
Figure 1:

Module Power, Ground, Serial Data, and MIL


Object Number: 669197  Size: FS
Master Electrical Component List
OBD II Symbol Description Notice
Ignition Controls
G110
G110
IP Fuse Block TURN - B/U, IGN MDL, PCM, BCM /CLU Fuses
IP Fuse Block TURN - B/U, IGN MDL, PCM, BCM /CLU Fuses
Figure 2:

Ignition Controls


Object Number: 669216  Size: FS
Master Electrical Component List
OBD II Symbol Description Notice
Engine Data Sensors - Pressure and Temperature
Module Power, Ground, Serial Data, and MIL
IP Fuse Block TURN - B/U, IGN MDL, PCM, BCM /CLU Fuses
G110
Figure 3:

Engine Data Sensors -- Pressure and Temperature


Object Number: 669219  Size: FS
Master Electrical Component List
OBD II Symbol Description Notice
Power, Ground and Serial Data
Ignition Controls
A/C Switch and Sensor
Figure 4:

Fuel Delivery


Object Number: 669230  Size: FS
Master Electrical Component List
OBD II Symbol Description Notice
EVAP Controls
Engine Data Sensors - Pressure and Temperature
G110
Underhood Fuse Block IGN, and ABS Fuses, IP Fuse Block ABS, F/P - INJ, AIR BG and CRUISE Fuses
G304 1 of 2
Figure 5:

EVAP Controls


Object Number: 669239  Size: FS
Master Electrical Component List
OBD II Symbol Description Notice
Engine Data Sensors - O2S and HO2S
Fuel Delivery
IP Fuse Block ERLS Fuse
IP Fuse Block ERLS Fuse
IP Fuse Block ERLS Fuse
Figure 6:

Engine Data Sensors - O2S and HO2S


Object Number: 669132  Size: FS
Master Electrical Component List
OBD II Symbol Description Notice
Generator, IAC, PNP and EOP
EVAP Controls
IP Fuse Block BCM, WIPER, HVAC, O2 HTR Fuses and PWR WDO Circuit Breaker
G112
Figure 7:

Controlled/Monitored Subsystem References 1 of 2


Object Number: 669249  Size: FS
Master Electrical Component List
OBD II Symbol Description Notice
Controlled/Monitored Subsystem References 2 of 2
Generator, IAC, PNP and EOP
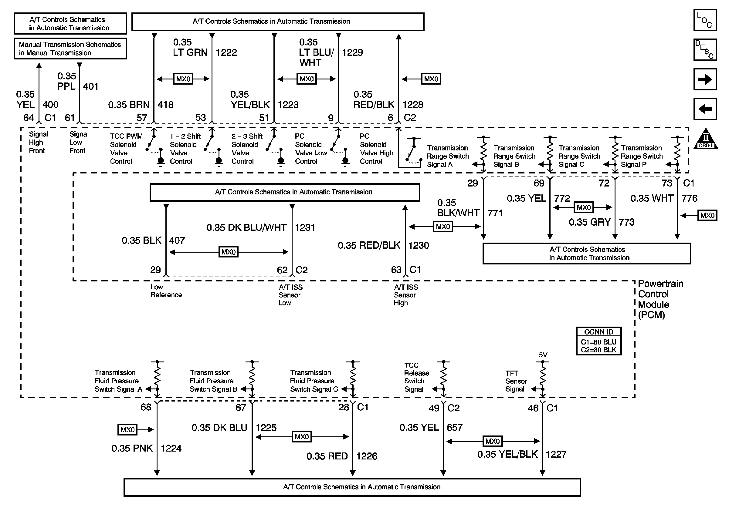
Figure 8:

Controlled/Monitored Subsystem References 2 of 2


Object Number: 669255  Size: FS
Master Electrical Component List
OBD II Symbol Description Notice
Controlled/Monitored Subsystem References 1 of 2
Power and Ground
Indicators and Switches
Compressor Controls
Indicators