GM Service Manual Online
For 1990-2009 cars only
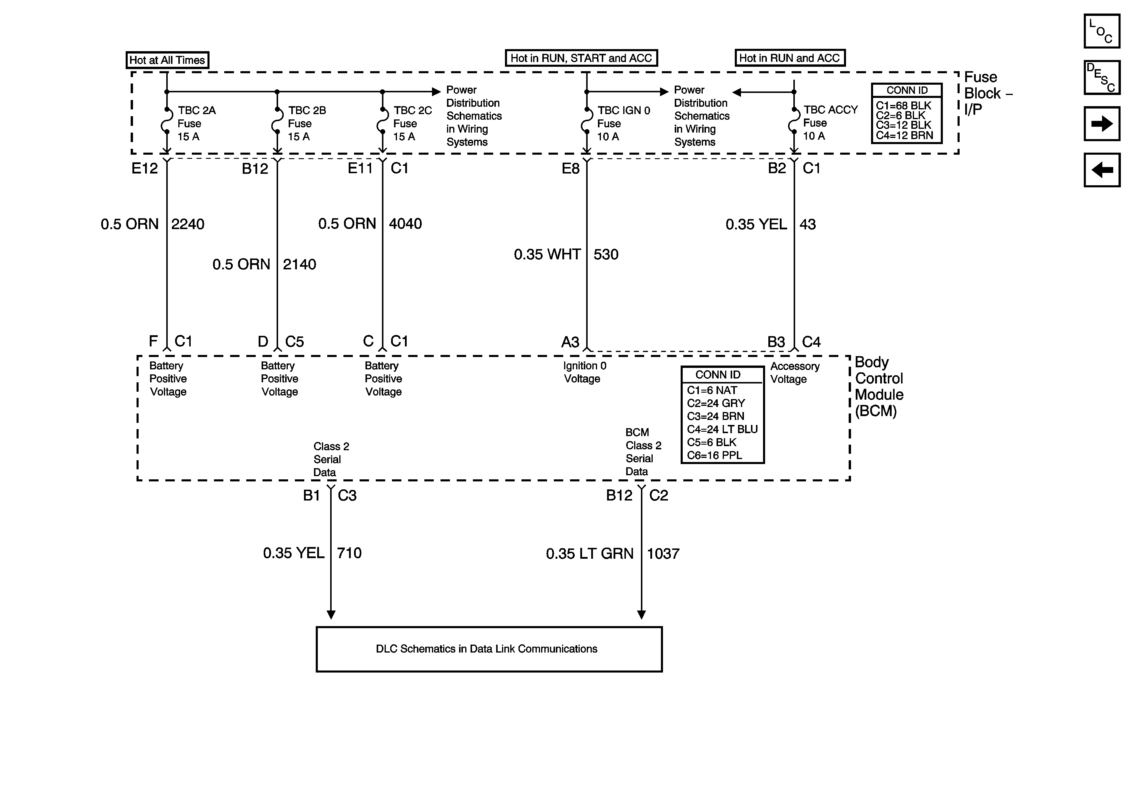
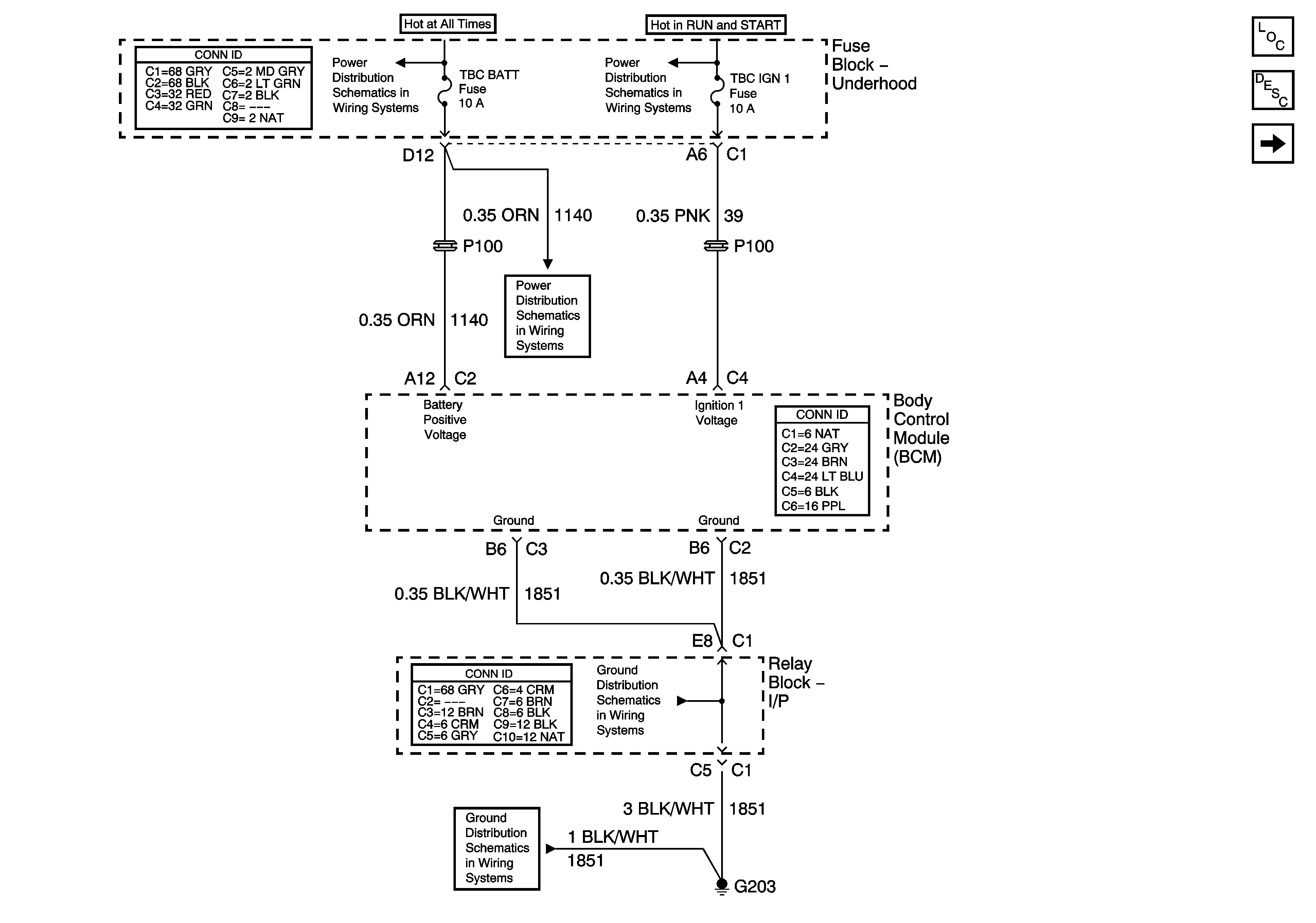
Figure 1:

Power, Ground and Serial Data - 1 of 2


Object Number: 1239182  Size: FS
Master Electrical Component List
Body Control System Description and Operation
Power, Ground and Serial Data - 2 of 2
B+ Bus - 1 of 2
Ignition Switch - ACC/RUN/START, ACC/RUN, and RUN/START Bus Bars
ABS, VSES/ECAS, STUD #1, STUD #2, TBC BATT Fuses
G203 - 1 of 3
Figure 2:

Power, Ground and Serial Data - 2 of 2


Object Number: 1239184  Size: FS
Master Electrical Component List
Body Control System Description and Operation
Interior Lights System References
Power, Ground and Serial Data - 1 of 2
LBEC 1, LBEC 2, MBEC 1 Fuses
Ignition Switch - ACC/RUN/START, ACC/RUN, and RUN/START Bus Bars
SP205 - 2 of 2
Figure 3:

Interior Lights System References


Object Number: 1239185  Size: FS
Master Electrical Component List
Body Control System Description and Operation
Exterior Lights System References
Power, Ground and Serial Data - 2 of 2
Interior Lights and LED Dimming Control
Door Jamb Switches - 1 of 2
Door Jamb Switches - 2 of 2
Interior Lights and LED Dimming Control
Inadvertent Power Supply Voltage - 3 of 3
Inadvertent Power Supply Voltage - 1 of 3, and Courtesy Lamp Supply Voltage - 1 of 4
Power, Ground, Serial Data and Driver Information Control
Figure 4:

Exterior Lights System References


Object Number: 1239186  Size: FS
Master Electrical Component List
Body Control System Description and Operation
Controlled/Monitored Subsystem References - 1 of 2
Interior Lights System References
Headlights
Daytime Running Lamps (DRL) - Domestic
Park Lamp Relay - Domestic
Headlights - w/ Z75
Daytime Running Lamps (DRL) - Export
Front
Park Lamp Relay - Export
Headlights/DRL Controls
Rear - Export Only
Backup Lamps
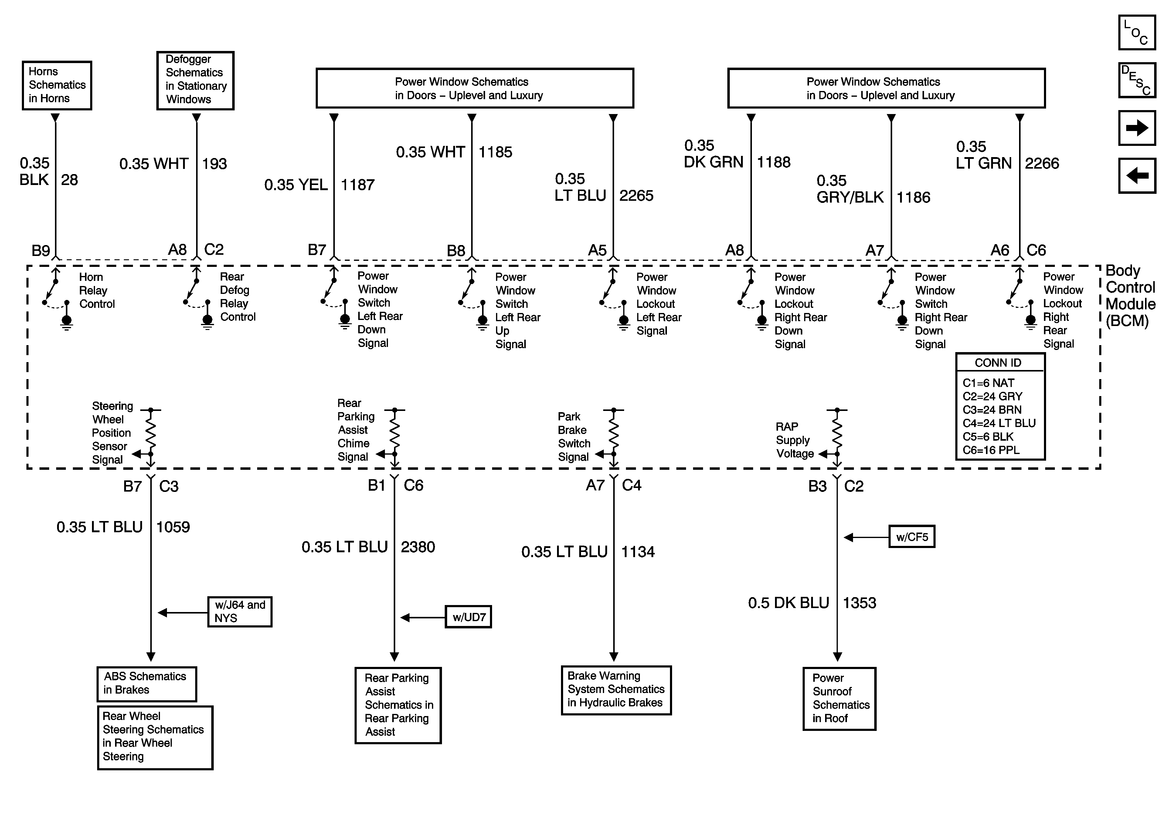
Figure 5:

Controlled/Monitored Subsystem References - 1 of 2


Object Number: 1239188  Size: FS
Master Electrical Component List
Body Control System Description and Operation
Controlled/Monitored Subsystem References - 2 of 2
Exterior Lights System References
Horns Schematics
Rear Window Defogger Controls
Left Doors
Right Doors
Steering Wheel Speed/Position Sensor Inputs
Steering Wheel/Speed Position Sensor
Rear Object Sensor Control Module, RPA Display, RPA Disable Switch
Serial Data and Park Brake Signal
Power Sunroof Schematics
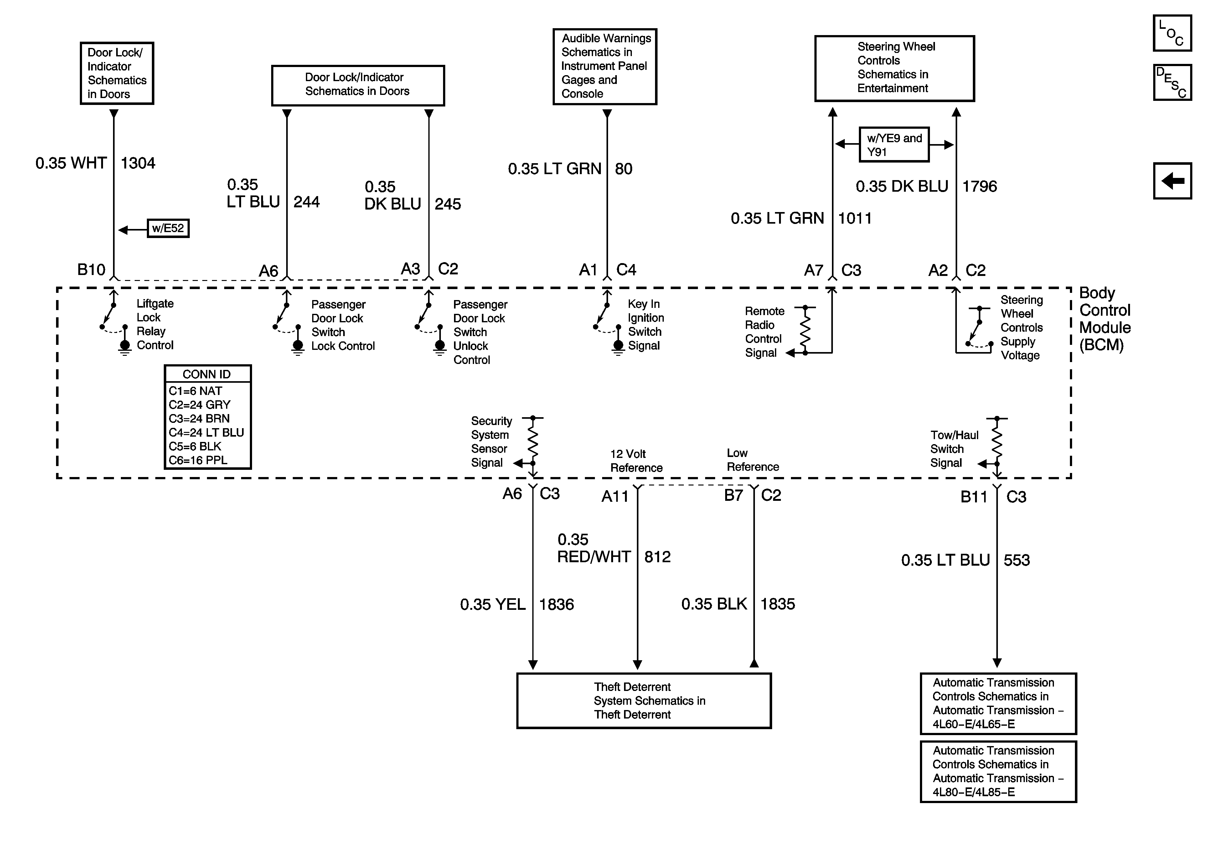
Figure 6:

Controlled/Monitored Subsytem References - 2 of 2


Object Number: 1239191  Size: FS
Master Electrical Component List
Body Control System Description and Operation
Controlled/Monitored Subsystem References - 1 of 2
Liftgate
Rear Control
Audible Warnings Schematics
Steering Wheel Controls Schematics
Passlock Sensor Inputs and Serial Data
Tow/Haul Switch and PNP Switch Inputs
Tow/Haul Switch and PNP Switch Inputs